Cable, Sliding Rails for 1990 Mercedes-Benz 190E
Vehicle
1990 Mercedes-Benz 190E
Change Vehicle
- Acceleration Skid Control (Asr)
- Battery, Starter/Alternator Cable
- Brake Lining Wear Indicator and Antilock Braking System
- Cable Harnesses Used for Tail Lamps, Fuel Pump, and Transmission
- Control Units
- Electric Cables Used for Starting and Light Switches
- Electric Cables Used for Starting Switch, Instrument Cluster, Light Switch
- Engine Cable Harness
- Front Brake Lining Wear Indicator, Abs & Automatic Locking Differential
- Fuse Box and Relay
- Headlamp Cable Harness and Horn
- Ignition System
- Ignition System and Cable Harness for Fan
- Ignition System and Cable Harness for Tachometer and Fan
- Inboard Cable Harness
- Instrument Cluster
- Loom Ties and Cable Mounting Parts
- Outside Temperature Indicator
- Overheat Warning Indicator
- Speed Sensor, Speedometer Flexible Shaft
- Speed Sensor, Speedometer Flexible Shaft and Oil Pressure Gauge Line
- Tempomat (Cruise Control)
- Antenna
- Antitheft Alarm System
- Autotelephone
- Belt Tensioner and Airbag
- Cable Coverg. , Prot. Hoses, Electr. Parts for Blower Motor & Heated Rear Pane
- Central Locking Mechanism and Orthopaedic Backrest
- Central Locking System
- Electric Seat Adjuster
- Electric Sliding Roof
- Electric Window Regulator
- Headlamp Wiper/Washer
- Interior Lamps
- Lighting Unit
- Outside Rearview Mirror
- Pane Wiper
- Radio Accessories
- Rear and License Plate Lamp
- Rear Lamps, Additional Stop Light, and License Plate Lamp
- Seat Heating
- Switch and Light Guide
- Air Conditioner
- Catalyst
- Central Locking System
- Design Group Orientation Table
- Electric Window Regulator
- Headlamp Wiper/Washer
- Outboard Temperature Indicator, Electr
- Outside Rearview Mirror
- Radio Set-Antenna
- Radio Set-Loudspeaker
- Seat Heating
- Sports Version
- Tempomat (Cruise Control)
- Trailer Coupling
- Acceleration Skid Control (Asr)
- Battery, Starter/Alternator Cable
- Brake Lining Wear Indicator and Antilock Braking System
- Cable Harnesses Used for Tail Lamps, Fuel Pump, and Transmission
- Control Units
- Electric Cables Used for Starting and Light Switches
- Electric Cables Used for Starting Switch, Instrument Cluster, Light Switch
- Engine Cable Harness
- Front Brake Lining Wear Indicator, Abs & Automatic Locking Differential
- Fuse Box and Relay
- Headlamp Cable Harness and Horn
- Ignition System
- Ignition System and Cable Harness for Fan
- Ignition System and Cable Harness for Tachometer and Fan
- Inboard Cable Harness
- Instrument Cluster
- Loom Ties and Cable Mounting Parts
- Outside Temperature Indicator
- Overheat Warning Indicator
- Speed Sensor, Speedometer Flexible Shaft
- Speed Sensor, Speedometer Flexible Shaft and Oil Pressure Gauge Line
- Tempomat (Cruise Control)
- Antenna
- Antitheft Alarm System
- Autotelephone
- Belt Tensioner and Airbag
- Cable Coverg. , Prot. Hoses, Electr. Parts for Blower Motor & Heated Rear Pane
- Central Locking Mechanism and Orthopaedic Backrest
- Central Locking System
- Electric Seat Adjuster
- Electric Sliding Roof
- Electric Window Regulator
- Headlamp Wiper/Washer
- Interior Lamps
- Lighting Unit
- Outside Rearview Mirror
- Pane Wiper
- Radio Accessories
- Rear and License Plate Lamp
- Rear Lamps, Additional Stop Light, and License Plate Lamp
- Seat Heating
- Switch and Light Guide
- Air Conditioner
- Catalyst
- Central Locking System
- Design Group Orientation Table
- Electric Window Regulator
- Headlamp Wiper/Washer
- Outboard Temperature Indicator, Electr
- Outside Rearview Mirror
- Radio Set-Antenna
- Radio Set-Loudspeaker
- Seat Heating
- Sports Version
- Tempomat (Cruise Control)
- Trailer Coupling
Browse Categories
Select category
- Acceleration Skid Control (Asr)
- Battery, Starter/Alternator Cable
- Brake Lining Wear Indicator and Antilock Braking System
- Cable Harnesses Used for Tail Lamps, Fuel Pump, and Transmission
- Control Units
- Electric Cables Used for Starting and Light Switches
- Electric Cables Used for Starting Switch, Instrument Cluster, Light Switch
- Engine Cable Harness
- Front Brake Lining Wear Indicator, Abs & Automatic Locking Differential
- Fuse Box and Relay
- Headlamp Cable Harness and Horn
- Ignition System
- Ignition System and Cable Harness for Fan
- Ignition System and Cable Harness for Tachometer and Fan
- Inboard Cable Harness
- Instrument Cluster
- Loom Ties and Cable Mounting Parts
- Outside Temperature Indicator
- Overheat Warning Indicator
- Speed Sensor, Speedometer Flexible Shaft
- Speed Sensor, Speedometer Flexible Shaft and Oil Pressure Gauge Line
- Tempomat (Cruise Control)
- Antenna
- Antitheft Alarm System
- Autotelephone
- Belt Tensioner and Airbag
- Cable Coverg. , Prot. Hoses, Electr. Parts for Blower Motor & Heated Rear Pane
- Central Locking Mechanism and Orthopaedic Backrest
- Central Locking System
- Electric Seat Adjuster
- Electric Sliding Roof
- Electric Window Regulator
- Headlamp Wiper/Washer
- Interior Lamps
- Lighting Unit
- Outside Rearview Mirror
- Pane Wiper
- Radio Accessories
- Rear and License Plate Lamp
- Rear Lamps, Additional Stop Light, and License Plate Lamp
- Seat Heating
- Switch and Light Guide
- Air Conditioner
- Catalyst
- Central Locking System
- Design Group Orientation Table
- Electric Window Regulator
- Headlamp Wiper/Washer
- Outboard Temperature Indicator, Electr
- Outside Rearview Mirror
- Radio Set-Antenna
- Radio Set-Loudspeaker
- Seat Heating
- Sports Version
- Tempomat (Cruise Control)
- Trailer Coupling
- Acceleration Skid Control (Asr)
- Battery, Starter/Alternator Cable
- Brake Lining Wear Indicator and Antilock Braking System
- Cable Harnesses Used for Tail Lamps, Fuel Pump, and Transmission
- Control Units
- Electric Cables Used for Starting and Light Switches
- Electric Cables Used for Starting Switch, Instrument Cluster, Light Switch
- Engine Cable Harness
- Front Brake Lining Wear Indicator, Abs & Automatic Locking Differential
- Fuse Box and Relay
- Headlamp Cable Harness and Horn
- Ignition System
- Ignition System and Cable Harness for Fan
- Ignition System and Cable Harness for Tachometer and Fan
- Inboard Cable Harness
- Instrument Cluster
- Loom Ties and Cable Mounting Parts
- Outside Temperature Indicator
- Overheat Warning Indicator
- Speed Sensor, Speedometer Flexible Shaft
- Speed Sensor, Speedometer Flexible Shaft and Oil Pressure Gauge Line
- Tempomat (Cruise Control)
- Antenna
- Antitheft Alarm System
- Autotelephone
- Belt Tensioner and Airbag
- Cable Coverg. , Prot. Hoses, Electr. Parts for Blower Motor & Heated Rear Pane
- Central Locking Mechanism and Orthopaedic Backrest
- Central Locking System
- Electric Seat Adjuster
- Electric Sliding Roof
- Electric Window Regulator
- Headlamp Wiper/Washer
- Interior Lamps
- Lighting Unit
- Outside Rearview Mirror
- Pane Wiper
- Radio Accessories
- Rear and License Plate Lamp
- Rear Lamps, Additional Stop Light, and License Plate Lamp
- Seat Heating
- Switch and Light Guide
- Air Conditioner
- Catalyst
- Central Locking System
- Design Group Orientation Table
- Electric Window Regulator
- Headlamp Wiper/Washer
- Outboard Temperature Indicator, Electr
- Outside Rearview Mirror
- Radio Set-Antenna
- Radio Set-Loudspeaker
- Seat Heating
- Sports Version
- Tempomat (Cruise Control)
- Trailer Coupling
No.
Part # / Description / Price
Price
N/A
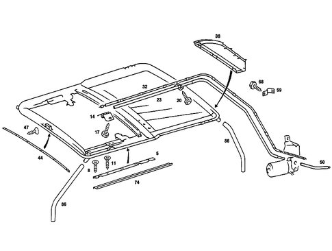
8
Screw
Mercedes-Benz
Mercedes-Benz Description: Plate to driver door left. Attachment plate. Rear door,top. Thrust plate, driver and rear doors. Guide rail to front seat backrest frame.
MSRP $3.40
$2.76
MSRP $3.40
$2.76
11
14
Fastening Shackle
Mercedes-Benz
Mercedes-Benz Description: At transport bridge. Tube and cable to transport bridge.
MSRP $17.50
$14.49
MSRP $17.50
$14.49
20
Hexalobular Screw
Mercedes-Benz
Mercedes-Benz Description: Tube to bottom frame. Sliding angle to sliding roof plate. At lifting bow. At transport bridge. Locking clamp to rear end central part. Handle to rear lid.
MSRP $5.50
$4.42
MSRP $5.50
$4.42
23
32
38
59
68
Tapping Screw
Mercedes-Benz
Mercedes-Benz Description: Front fender to wheelhouse bracket. 4.8x13. Partition panel to fire wall,wheelhouse,connection support,and console. 4.8x13. Mounting, cover. 4.8x13. To 140 470 04 47. 4.8x13. Control unit. 4.8x13. Cooling pipe to side member and to engine cross member. 4.8x13. Line to upper rear wall. 4.8x13. High pressure line to subframe. 4.8x13. Screening below gear lever. 4.8x13. Heat shield mounting. 4.8x13.
MSRP $2.00
$1.66
MSRP $2.00
$1.66
86
Hose
Mercedes-Benz
Mercedes-Benz Notes: TO BE ADAPTED DURING ASSEMBLY
Description: Water drain,rear 1470 mm.
MSRP $194.00
$147.32
MSRP $194.00
$147.32